Av 101 Ex Iturraspe Nº895 - B1650BKM - San Martín

Volver

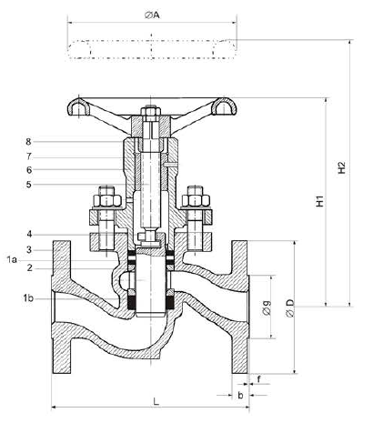
VALVULA GLOBO DE PISTON- CKST A08 PN 40 15-50mm

Acero Carbono Fundido ASTM A 216 Gr WCB

Alternativa de construcción totalmente en Acero lnox.

CONEXIONES BRIDADAS

CONSTRUCCIÓN
Partes Material
1a ANILLO SUPERIOR GRAF. C/INOX. Y PTFE
1b ANILLO INFERIOR GRAF. FLEXIBLE Aº INOX
2 LINTERNA 1/2" a 1" ACERO ZINCADO 1 1/4" a 2" Ho Fundido
3 CUERPO ACERO CARBONO ASTM A 126 Gr WCB
4 PISTON ACERO INOX
5 VASTAGO ROSCADO ACERO ALEADO
6 BONETE ACERO CARBONO ASTM A 126 Gr WCB
7 BUJE GUIA VASTAGO BRONCE
8 BUJE VOLANTE ACERO ZINCAOO

TEST HIDROSTÁTICO
Material bar
Cuerpo 60
Cierre 40

Presión/Temper. Ambiente

APLICACIÓN

Presión - Temp

16 bar - 450°C

40 bar - 120°C

Vapor Saturado:

Curva 2


OBSERVACIONES
  1. Bridas conforme norma ANSI B 16.5 300 Lb./ ANSI B 16.5 S 150 Lbs .
  2. Salvo pedido específico, las bridas son entregadas sin perforar.
  3. A pedido, las bridas podrán dimensionarse según ANSI B 16.10 S150, S300 o DIN.
DIMENSIONES
DN CUERPO CONEXIÓN Peso Aprox. (Kg.)
pulg. mm. L H1 A H2 D b g f DIN 2535
1/2 15 130 128 100 154 95 14 45 2 3.000
3/4 20 150 147 120 177 105 16 58 2 5.500
1 25 160 172 142 207 115 16 68 2 7.600
1 1/4 32 180 196 160 237 140 18 78 2 10.000
1 1/2 40 200 227 180 276 150 18 88 3 14.500
2 50 230 250 200 305 165 20 102 3 17.000
2 50 267 250 200 305 165 22.2 92.1 1.6 ANSI B 16.5 300 LB 17.000

Las válvulas Globo a Pistón COMATTI se pueden proveer con actuadores.

El presente modelo desde 15mm puede convertirse en válvula de regulación mejorada con sólo cambiarle el pistón. Reemplazando también la linterna se convierte en válvula de regulación fina.